1. Check:
Primary coil resistance
Out of specification
Replace.
a. Disconnect the ignition coil connectors from the ignition coil terminals.
b. Connect the pocket tester (
× 1)
to the ignition
coil as shown.
Positive tester probe
red/white "1"
Negative tester probe
orange "2"

c. Measure the primary coil resistance.
2. Check:
Secondary coil resistance
Out of specification
Replace.
a. Disconnect the spark plug cap from the ignition coil.
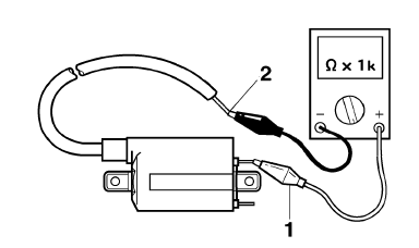
b. Connect the pocket tester (
×
1k) to the ignition
coil as shown.

c. Measure the secondary coil resistance.
Checking the spark plug cap
Checking the ignition spark gapChecking the engine oil level
1. Stand the vehicle on a level surface.
NOTE:
Place the vehicle on a suitable stand.
Make sure the vehicle is upright.
2. Start the engine, warm it up for several minutes,
and then turn it off.
3. Check:
Engine oil level
The engine oil level should be between the
minimum level ...
Adjusting the throttle cable free play
Throttle cable free play
The throttle cable free play should measure
3.0-5.0 mm (0.12-0.20 in) at the
throttle grip. Periodically check the
throttle cable free play and, if necessary,
adjust it as follows.
TIP
The engine idling speed must be correctly
adjusted before checkin ...
Assembling the rear brake caliper
WARNING
Before installation, all internal brake components
should be cleaned and lubricated
with clean or new brake fluid.
Never use solvents on internal brake components
as they will cause the brake caliper
piston dust seal and piston seal to swell
and distort.
...