The following procedure applies to all of the valves and related components.
1. Deburr:

2. Lubricate:


3. Install:

NOTE:

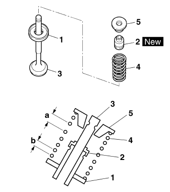
b. Smaller pitch
4. Install:
NOTE:
Install the valve cotters by compressing the
valve spring with the valve spring compressor
and the valve spring compressor attachment "2".

5. To secure the valve cotters onto the valve stem, lightly tap the valve tip with a soft-face hammer.
| CAUTION: Hitting the valve tip with excessive force could damage the valve. |

Checking the valve springsSelf-diagnostic function table
If the ECU detects an abnormal signal from a sensor while the vehicle is
being driven, the ECU illuminates
the engine trouble warning light and provides the engine with alternate
operating instructions that
are appropriate for the type of malfunction.
When an abnormal signal is received fro ...
Removing the cylinder head
1. Align:
"I" mark "a" on the generator rotor
(with the stationary pointer "b" on the generator
cover)
a. Turn the crankshaft counterclockwise.
b. When the piston is at TDC on the compression
stroke, align the "I" mark "c" on the camshaft
sprocket with the mark "d" on the
cylinder h ...
Outline of the fi system
The main function of a fuel supply system is to provide fuel to the
combustion chamber at the optimum
air-fuel ratio in accordance with the engine operating conditions and the
atmospheric temperature. In
the conventional carburetor system, the air-fuel ratio of the mixture that is
supplied t ...