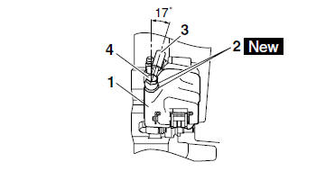
1. Install:


| WARNING Proper brake hose routing is essential to insure safe vehicle operation. Refer to "CABLE ROUTING" on page 2-33. |
CAUTION:
|

2. Remove:
3. Install:

Refer to "REPLACING THE FRONT BRAKE PADS" on page 4-22.
4. Fill:

WARNING
|
| CAUTION: Brake fluid may damage painted surfaces and plastic parts. Therefore, always clean up any spilt brake fluid immediately. |
5. Bleed:
6. Check:
Refer to "CHECKING THE BRAKE FLUID LEVEL" on page 3-18.

7. Check:
Brake lever operation Soft or spongy feeling → Bleed the brake system.
Refer to "BLEEDING THE HYDRAULIC BRAKE SYSTEM" on page 3-20.
Assembling the front brake caliper
Removing the front brake master cylinderPeriodic maintenance and lubrication chart
NOTE:
The annual checks must be performed every year, except if a
kilometer-based maintenance,
or for the UK, a mileage-based maintenance, is performed instead.
From 30000 km (17500 mi), repeat the maintenance intervals starting
from 6000 km (3500 mi).
Items marked with an asterisk s ...
For your safety - pre-operation checks
Inspect your vehicle each time you use it to make sure the vehicle is in safe
operating condition. Always follow the inspection
and maintenance procedures and schedules described in the Owner's Manual.
WARNING
Failure to inspect or maintain the vehicle properly increases the possibility of
...
Adjusting the brake pedal free play
Adjusting the brake pedal free play
Brake pedal free play
The brake pedal free play should measure
3.5-4.5 mm (0.14-0.18 in) as
shown. Periodically check the brake
pedal free play and, if necessary, have
a Yamaha dealer adjust it.
WARNING
An incorrect brake pedal free play
in ...