The following procedure applies to both of the front fork legs.
WARNING
|
NOTE:
When assembling the front fork leg, be sure to replace the following parts:
Before assembling the front fork leg, make sure all of the components are clean.
1. Install:
| CAUTION: Allow the damper rod to slide slowly down the inner tube until it protrudes from the bottom of the inner tube. Be careful not to damage the inner tube. |
2. Lubricate:

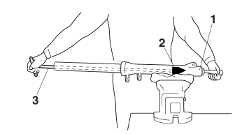
3. Tighten:

NOTE:
While holding the damper rod with the damper
rod holder "2" and T-handle "3", tighten the
damper rod bolt.

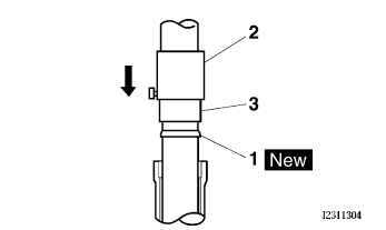
4. Install:


5. Install:

| CAUTION: Make sure the numbered side of the oil seal faces up. |
NOTE:


6. Install:
NOTE:
Adjust the oil seal clip so that it fits into the outer tube's groove.

7. Install:


8. Fill:

CAUTION:
|
9. After filling the front fork leg, slowly stroke the inner tube "1" up and down (at least ten times) to distribute the fork oil.
NOTE:
Be sure to stroke the inner tube slowly because the fork oil may spurt out.

10.Before measuring the fork oil level, wait ten minutes until the oil has settled and the air bubbles have dispersed.
NOTE:
Be sure to bleed the front fork leg of any residual air.
11.Measure:
Front fork leg oil level "a"
(from the top of the inner tube, with the inner
tube fully compressed and without the fork
spring)
Out of specification
Correct.
12.Install:
NOTE:
Install the spring with the smaller pitch "a" facing
up.
13.Install:

NOTE:
Checking the front fork legs
Installing the front fork legsChecking the valves and valve guides
The following procedure applies to all of the
valves and valve guides.
1. Measure:
Valve-stem-to-valve-guide clearance
Out of specification Replace the
valve
guide.
Valve-stem-to-valve-guide clearance =
Valve guide inside diameter "a" -
Valve stem diameter "b"
2. Replace:
...
Special tools
The following special tools are necessary for complete and accurate tune-up
and assembly. Use only
the appropriate special tools as this will help prevent damage caused by the use
of inappropriate tools
or improvised techniques. Special tools, part numbers or both may differ
depending on the ...
Faulty lighting or signaling system
Headlight does not come on
- Wrong headlight bulb
- Too many electrical accessories
- Hard charging
- Incorrect connection
- Improperly grounded circuit
- Poor contacts (main or light switch)
- Burnt-out headlight bulb
Headlight bulb burnt out
- Wrong headlight bulb
- Faulty battery
- Fau ...